隔膜閥
1、應用場合
在涉及磨損性或腐蝕性漿料,粉狀物或粒狀物的關閉或控製操作時,隔膜閥是最佳的選擇方案之一。
2、技術參數
尺寸範圍:DN20、40、50等
溫度範圍:0-80℃
公稱壓力:1.0MPa
關 閉 件:橡膠隔膜
執行標準:
設計與製造標準 GB/T 12239
試驗與檢驗 JB/T9092
結構長度 GB/T 12221
法蘭標準 GB/T 9119,1.0MPa
3、性能特點
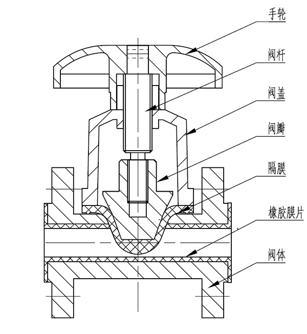
隔膜閥是一種特殊形式的截斷閥,其啟閉件是一塊用軟質材料製成的隔膜,它將閥體內腔與閥蓋內腔隔開。
3.1 可實現100%氣泡級密封,保證下遊絕對零泄漏。
3.2 雙向全通徑流道,減小壓降,降低磨損,延長使用壽命。
3.3 自動清潔,不會卡住或堵塞。
3.4 完全免維護設計。
3.5 無金屬部件與料漿直接接觸。
3.6 模塊化設計的隔膜,方便使用者自行更換。
4、法蘭連接尺寸
| 公稱通徑DN | 法蘭外徑D | 螺栓孔中心圓直徑K | 螺栓孔徑L | 螺栓 | |
| 數量n | 螺紋規格 | ||||
| 20 | 105 | 75 | 14 | 4 | M12 |
| 32 | 140 | 100 | 18 | 4 | M16 |
| 40 | 150 | 110 | 18 | 4 | M16 |
| 50 | 165 | 125 | 18 | 4 | M16 |
5、閥門材料

| 序號 | 零部件名稱 | 材料 | 備注 |
| 1 | 閥體 | HT200/CF8 | |
| 2 | 閥蓋 | HT200/CF8 | |
| 3 | 閥瓣 | HT200 | |
| 4 | 閥杆 | 2Cr13/304 | |
| 5 | 隔膜 | 橡膠 | 多種材料可選 |
| 6 | 橡膠膜片 | 橡膠 | 多種材料可選 |
| 7 | 標準件 | 304/316 | |
| 8 | 手輪 | HT200/CF8 | |
| 注:型號不同閥門材質會存在差異。 | |||
